Separator systems for light liquids (e.g. oil and petrol) according to EN858
These systems are mainly used to treat the surface water collected from the parking lots, air strips, road surfaces etc. The basic function of the light liquid separation systems is the liquid/liquid separation - separating the light oil, petrol products to the surface water that is further sent for regular treatment. The separated and collected oil and petrol products are collected and treated separately. The quality requirements for the systems somewhat differ between regions, in Europe there is a specific standard EN858 covering the design and usage of these systems.
The European standard EN858 is governing the basics for the separator systems of light liquids. This standard covers the separation systems for light liquids (for example oil, petrol) with density below 0,95g/cm3. The standard itself is devided into two parts:
- Part 1 that covers the design, performance and testing requirements
- Part 2 that covers the selection of the nominal size, instalation, operation and maintenance related areas
I shall cover the types of the separators and their basic design in this brief report about the light liquid separation systems.
Separator systems for the light liquid separation can be divided into the following main categories:
- Static separators, where no extra options besides gravity are used for enhanced separation capability
- Hydrodynamic separators, where hydrodynamic manipulation for enhanced separation is used
- Lamellar separators, where lamellar filter packs are used for enhanced separation cabability
- Coalescent separators, where coalescent filter packs are used for enhanced separaation cabability
The separators are divided into two classes rated by the performance:
- Class I separators: residual hydrocarbon content less than 5mg/l after the separation process. These are mostly coalescent and lamellar separators.
- Class II separators: residual hydrocarbon content less than 100mg/l after the separation process. These are mostly static separators. Also most of the purely hydrodynamic water treatment systems fall under this category.
Simple static separator with sludge trap:

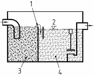
Separator system with coalescent filter pack:

Light liquid separator systems can also be designed with by-pass system. This is neccessary when the whole amount of surface water do not need treatment. The usual setup is 1/3 is to be treated and 2/3 to go through the by-pass system without treatment. In this case the NS of the separator system is still expressed via the actual l/s of water to be treated. For example NS120/360 would mean that it is a light liquid separator system with 120l/s of treated water and 240l/s would be passed via the by-pass system.
Separator system with external by-pass:


The nominal size (l/s) of an separator is determined by testing. The testing procedure is thoroughly described in the standard. Some main aspects for the testing are brought out here:
- The water used for testing shall be drinking water or mechanically purified river water. The temperature must be in the range of 4-20C and the pH level 7 +/-1
- Light liquid used in the test shall be fuel oil in accordance with ISO8217, designation ISO-F-DMA and having a density of 0,85 +/- 0,015 g/cm3 at 12C
- The fuel oil shall be inserted to the test unit at a rate of 5ml/l or 4250mg/l
- The running period of the test shall be equal to the time needed to exchange the volume of the water four times, but not less than 15 minutes
- The sampling period shall be 5 minutes, where with the interval of 1 minute a new sample of total 5 is taken. The minimum size of each individual sample is 500ml
- Arithmetical mean shall be the base for the class specification. Individual results from the 5 samples cannot exceed:
- 10mg/l for Class I separator
- 120mg/l for Class II separator
There is an option to approve the nominal size by design only for the separator systems with nominal size bigger than 50l/s, although according to the standard EN858 the nominal sizes are deemed to be determined by testing. The option is based on the EN858-1 Contribution of the French Mirror Group (P16E/GM8) concerning the hydraulic performance of separators larger than TN50. Shortly summarized nominal size of the separators with NS higher than 50 can be approved by testing minimum 3 separators of smaller NS classes, where at least 2 NS sizes must be tested from the range of NS10, NS15, NS20, NS30, NS40 or NS50. For detailed conditions and approval requirements please consult the document EN858-1 Contribution of the French Mirror Group (P16E/GM8).
There are also separate requirements and specific guidelines brought out in the standard regarding the the separators of NS150 and bigger, that are built in-situ.
Coming back to the start of this small report, in some countries the acceptance levels for such treatment systems differ completely from the European norms. To bring you an example. In Europe the nominal size of the treatment system is determined by the testing – the oil concentration at the inlet of 4250mg/l has to be reduced to the level of 5mg/l at the outlet. In Russian Federation the separator system has to be capable of reducing the hydrocarbon content to the level of 0,05mg/l, so specific units for additional treatment are used to reach those levels. It is always a good idea to make sure what are the local standards and design your unit around those.
Author:
Peeter Kirtsi, Krah Pipes OÜ
